Печь-камин Invicta Symphonia
9806163a7f24
Доставка в Красноярск
Удобство оплаты
Почему звонить в Очаг уже сейчас?
- Единая цена по всей России
- Бесплатная доставка
- Понимаем любой бюджет
- Считаем ВСЕ варианты
- Инструкции и видео для Монтажа
- Доступно, Оперативно, Профессионально
- Более 2 000 монтажей за 17 лет
Примеры работ #Степан_Знает
Видео галерея
Описание
Характеристики
Общие
Производитель:
Страна-производитель:
Франция
Материал отделки:
Материал топки:
- Чугун
Тип печи:
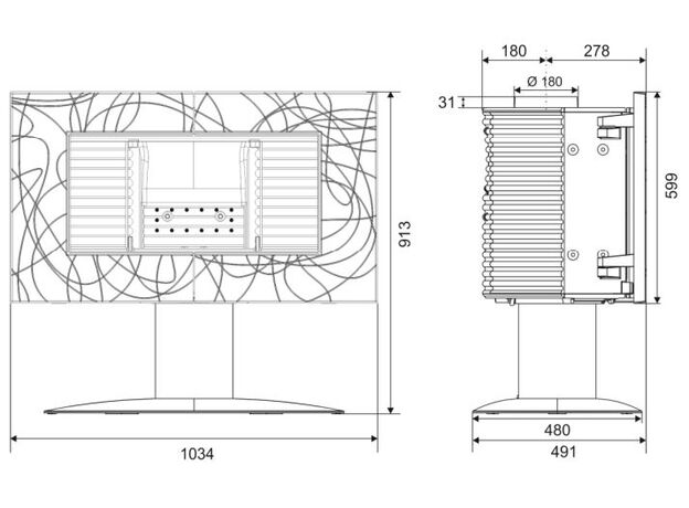
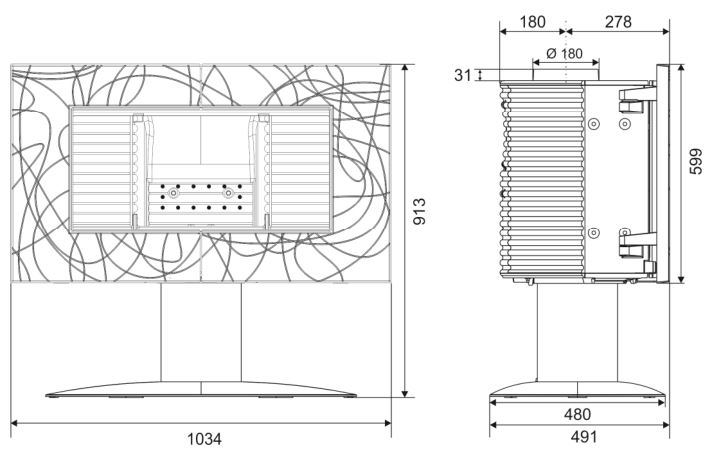
Размеры
Диаметр дымохода:
180 мм
Общая ширина:
1034 мм
Общая глубина:
491 мм
Общая высота:
913 мм
Общий вес:
199 кг
Производительность
Мощность:
12 кВт
КПД:
76%
Площадь отопления:
120 м²
Объем отопления:
300 м³
Использование для отопления:












